Find Your Style
Women
Men
Accessories
Search for clothing, brands, styles...
×
Women
Men
Accessories
Accelerations Lexington
Search
Loading...
No suggestions found
RBI Allows Overseas Banks to Open INR Accounts
currentaffairs.adda247.com
Explore the smoothest whiskey collection: Best Scotch under INR 2000
lifestyleasia.com
Your Partner for Home INR Monitoring Services and Supplies | mdINR®
mdinr.com
Anand Kamalnayan Pandit — INR 8,660 Cr (Sri Lotus Developers & Realty ...
economictimes.indiatimes.com
Anand Kamalnayan Pandit — INR 8,660 Cr (Sri Lotus Developers & Realty ...
economictimes.indiatimes.com
Indian Rupee (₹) - Buy INR Currency Online at Best Rates
makemytrip.com
Facts about Indian businessman who is buying Lavasa city for INR 1814 ...
timesofindia.indiatimes.com
Anand Kamalnayan Pandit — INR 8,660 Cr (Sri Lotus Developers & Realty ...
economictimes.indiatimes.com
Anand Kamalnayan Pandit — INR 8,660 Cr (Sri Lotus Developers & Realty ...
economictimes.indiatimes.com
CA Fresher bags INR 49.20 Lakhs Package in 58th ICAI Campus Placement Event
taxscan.in
Administration of Warfarin Inhibits the Development of Cerulein-Induced ...
mdpi.com
Two situations are shown in fig. (a) and (b). In each case, m1=3 kg and ...
tardigrade.in
Mammoth
vajiramandravi.com
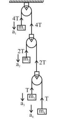
In the arrangement shown in figure a 1, a 2, a 3 and a 4 are the ...
tardigrade.in
Acceleration - Physics for Grade 10 PDF Download
edurev.in
Find the accelerations `a_1,a_2,a_3` of the three blocks shown in ...
allen.in
Two masses are connected by a string which passes over a pulley ...
allen.in
The magnitude of difference in accelerations of blocks of mass m in ...
brainly.in
2025 NCAA Division I Womens Volleyball Championship - Second Round ...
allevents.in
The two blocks shown in figure-2.200 are initially at rest. Assuming ...
allen.in
Boo Bash 2025!, Uptown Lexington, 31 October 2025 | AllEvents
allevents.in
Mansfield & Lexington Turkey Trot (Half Marathon/10k/5k/Kids Run ...
allevents.in
Camp Constitutions Sixth Annual Reason for the Season Potluck with ...
allevents.in
Kentucky Cattle Battle, Lexington, KY, 9 January to 10 January | AllEvents
allevents.in
In the system shown in the diagram all surfaces are smooth, pulley and ...
tardigrade.in
If the blocks A and B are moving towards each other with accelerations ...
allen.in
Lead-Free Piezoelectric Acceleration Sensor Built Using a (K,Na)NbO3 ...
mdpi.com
Acceleration due to Gravity- Definition, Formula, Derivation
adda247.com
Figure shows two pulley arrangements for lifting a mass m In case-1 ...
tardigrade.in
If the blocks A and B are moving towards each other with accelerations ...
allen.in
Figure given below shows the variation of velocity of a particle with ...
brainly.in
Find the relation in the accelerations of the three masses shown in fig.
allen.in
A ball of radius `R=10.0cm` rolls without slipping down an inclined ...
allen.in
Velocity Time, Acceleration time Graphs & Equations - Physics - Aakash ...
aakash.ac.in
24 hours (or less) in Lexington, KY
visitlex.com
Displacement, Velocity & Acceleration of a particle in SHM | AESL
aakash.ac.in
Blocks A and B are initially in equilibrium. The springs and strings ...
brainly.in
Lexington Events | Upcoming Events & Things To Do In Lexington, KY ...
allevents.in
Introduction to Motion Class 11 Notes | EduRev
edurev.in
THE 30 BEST Places to Visit in Lexington (2026) - Must-See Attractions
tripadvisor.in
in the given arrangement of the lift is moving upward with acceleration ...
brainly.in
Physics Class 12 System of Particles and Rotational Motion - Check ...
collegedekho.com
Draw a graph between mass and acceleration if force applied in kept ...
brainly.in
Acceleration Formula, Equation for Class 9
adda247.com
Buy OCEAN 3-piece Lexington Red Wine Glass Set - 315 ml from Ocean at ...
homecentre.in
Buy OCEAN Lexington Set of 6 Red Wine Glasses - 315ml from Ocean at ...
homecentre.in
Buy OCEAN 3-piece Lexington Red Wine Glass Set - 315 ml from Ocean at ...
homecentre.in
Buy OCEAN Lexington Set of 6 Red Wine Glasses - 315ml from Ocean at ...
homecentre.in
Buy OCEAN Lexington Set of 6 Flute Champagne Glasses - 185ml from Ocean ...
homecentre.in
Tangential Acceleration Formula, Definition, Solved Examples
pw.live
In the system shown in figure, block `m_1` slides down a friction less ...
allen.in
A rod of mass m is supported on a wedge of mass M shown in fig. Find ...
allen.in
Newton's Three Laws of Motion! Inertia, Mass, Acceleration, Force and ...
amazon.in
Two blocks A and B of masses m 2m , respectively, are held at rest such ...
tardigrade.in
Lexington Events | Upcoming Events & Things To Do In Lexington, KY ...
allevents.in
Lexington Hotels from ₹ 4,164/night | Compare Best Hotels in Lexington ...
kayak.co.in
Lexington Co-op Annual Meeting and Mural Celebration, 807 Elmwood Ave ...
allevents.in
Two masses are connected by a string which passes over a pulley ...
tardigrade.in
Which part of the graph shows uniform acceleration and retardation ...
brainly.in
In the arrangement shown in fig., mass of the rod M exceeds the mass m ...
allen.in
Find the acceleration of each block in the situation shown in the ...
allen.in
A Particle starts from P from rest and accelerates with acceleration a1 ...
brainly.in
In the arrangement shown in figure a 1, a 2, a 3 and a 4 are the ...
tardigrade.in
Two cars A and B are moving along straight line with constant ...
tardigrade.in
Find the accelerations of rod A and wedge B in the arrangement shown in ...
allen.in
Two bodies of mass 10 kg and 5 kg moving in concentric orbits of radius ...
edurev.in
Derivation of equations and List of 3 equations of motion - Physics ...
aakash.ac.in
New Years Eve Party 2025 at DoubleTree Suites Lexington, 2601 Richmond ...
allevents.in
RIDE IN FLY IN Plane N Car Show, Davidson County Airport, Lexington, 12 ...
allevents.in
International Trade Settlement in Indian Rupee (INR)
taxguru.in
Gold Necklace Set with Price | Buy Gold Necklace Set Online
manubhai.in
Gold Necklace Set for Women | Buy Gold Necklace Set Online India ...
manubhai.in
In the following figure, a sphere of radius 3m rolls on a plank. The ...
allen.in
are these contractions? | BabyCenter
community.babycenter.com
Gold Necklace Set for Women | Buy Gold Necklace Set Online India ...
manubhai.in
Red Carpet Premiere — Lexington: Resilience in the Redline, Lyric ...
allevents.in
Buy Diamond Necklace Online | Diamond Set Online Manubhai Jewellers
manubhai.in
Figure shows the graphical variation of displacement with time for the ...
tardigrade.in
1) What type of motion is represented by OA? 2) What type of motion is ...
brainly.in
The velocity time graph of an ascending passenger lift is given below ...
brainly.in
Dolly Partons Smoky Mountain Christmas Carol at Lexington Opera House ...
allevents.in
A particle travels 10m in first 5 sec and 10m in next 3 sec. Assuming ...
brainly.in
Two cars A and B are moving along straight line with constant ...
tardigrade.in
The 2nd Annual Fly High Lexington Motoring Expo, 1673 Aviation Way ...
allevents.in
Lexington Events | Upcoming Events & Things To Do In Lexington, KY ...
allevents.in
Collections
svbventures.in
Two spherical bodies of masses `2M` and `M` and radii `3R` and `R ...
allen.in
Thank You for Being Late: An Optimist's Guide to Thriving in the Age of ...
amazon.in
Waka Flocka Flame in Lexington, Manchester Music Hall, Lexington, 15 ...
allevents.in
calculate the acceleration and distance of the body moving with 5 M ...
brainly.in
UK HealthCare Boys Sweet 16 - 1 Game (Male v Breathitt Co), Rupp Arena ...
allevents.in
In fig., the blocks A, B and C of mass m each have accelerations a1, a2 ...
tardigrade.in
11. An object is moving up an inclined plane. Its velocity changes from ...
brainly.in
Buy Diamond Necklace Online | Diamond Set Online Manubhai Jewellers
manubhai.in
Buy OCEAN 3-piece Lexington Champagne Flute Set- 185 ml from Ocean at ...
homecentre.in
Sri Lanka and Russia in talks to use the rupee in foreign trade
currentaffairs.adda247.com
Wedding Gold & Diamond Jewellery set with Price | Buy Bridal Gold ...
manubhai.in
Two masses of 5 kg and 3 kg are suspended with the help of massless ...
tardigrade.in
Derive expression for centripetal acceleration 1 - Brainly.in
brainly.in
A ball falls vertically downward and bounces off a horizontal floor ...
tardigrade.in
WKYT | Kentucky Local News, Weather, Sports | Lexington, KY
wkyt.com
In the arrangement shown in fig the bodies have masses `m_(0), m_(1 ...
allen.in
MGT-6 Form Filing Process and Key Requirements
taxguru.in
Revive Night with Pastor Gaines & Consolidated Baptist Church, 152 N ...
allevents.in
Two bodies of masses 5 kg and 4 kg are arranged in two positions as ...
allen.in
Diamond Necklace Designs | Buy Diamond Necklace Set Online at Best ...
manubhai.in
Buy OCEAN 3-piece Lexington Champagne Flute Set- 185 ml from Ocean at ...
homecentre.in
The string between blocks of mass m and 2m is massless and inextensible ...
allen.in
Lobster Dogs at Autumn Woods-LEXINGTON, 747 Equinox Ln, Lexington, SC ...
allevents.in
Light Weight & Daily Wear Gold Necklace Set Designs (2025) | Buy Gold ...
manubhai.in
Coagulation Analyzer - Micropoint Q3 Pro Electrometer PT-INR Trader ...
r2healthcare.in
Warhammer: Man O War Escalation League, 115 N Locust Hill, Suite 106 ...
allevents.in
Buy OCEAN Lexington Set of 6 Red Wine Glasses - 315ml from Ocean at ...
homecentre.in
Buy OCEAN Lexington Set of 6 Flute Champagne Glasses - 185ml from Ocean ...
homecentre.in
Lexington Events | Upcoming Events & Things To Do In Lexington, KY ...
allevents.in
Lexington African-American Sports Hall of Fame Gala 2025, Central Bank ...
allevents.in
Brad Alford LIVE @ Barrel 53, Hotel Lex Lexington. , Barrel 53 ...
allevents.in
Buy Michael Kors Michael Kors Lexington Rose Gold Watch MK7242 Online ...
thecollective.in
Buy Gold Bangles Online India with Latest Designs - Manubhai Jewellers
manubhai.in
Diamond Earrings Designs | Buy Diamond Earrings Online India - Manubhai ...
manubhai.in
Related Searches
Acceleration Logo
Acceleration Woodbridge
Acceleration Tallahassee
Accelerations Modesto
Acceleration Addition
Enhed for Acceleration
Acceleration Inspo
Acceleration Scuff
Acceleration Physics
Centripetal Acceleration
Acceleration Principle Brownsville
Episodic Accelerations
Acceleration Science
Accelerations Chandler
Acceleration Santa Rosa
Football Acceleration Drills
Acceleration Tangentielle
Continuous Acceleration Logo
Aseleration in Electric Car-X
Alienation versus Acceleration
Saccule Up and Down Acceleration
Instantaneous Acceleration Graph
Keep Acceleration
Accélération Centripète
Acceleration of Car
Acceleration Drawing
Acceleration Company
Acceleration Newark
When Is Acceleration Negative
Accelerative
Acceleration Integration
Acceleration Arrow
Acceleration Force
Negative Velocity and Positive Acceleration
Can Acceleration Be Negative
Acceleration Garage 10
Acceleration Illustration
Acceleration Background
Instantaneous Acceleration
Acceleration Word Imagine
Can You Have Negative Acceleration
Downtown Lexington KY
Acceleration Letter
Force Mass Acceleration
Acceleration Stamford
How to Know Acceleration
How to Calculate Acceleration
Car Acceleration
Accelerations Gresham
15X15 Accelerations
Search
×
Search
Loading...
No suggestions found