Find Your Style
Women
Men
Accessories
Search for clothing, brands, styles...
×
Women
Men
Accessories
Drawful 2 Switch
Search
Loading...
No suggestions found
Drawful 2 | LBB
lbb.in
Drawful 2 - App on Amazon Appstore
amazon.in
Drawful 2
in.ign.com
Schéma de câblage du interrupteur d'éclairage : Un tutoriel complet
edrawsoft.com
Smart Switch Installation Guide for 2 Switch Module
iotics.io
Amazon.in Bestsellers: The most popular items on Amazon
amazon.in
L298N motor driver
flyrobo.in
Buy Can-am Commander Maverick Two Switch Dash Panel Plate Rocker ...
ubuy.co.in
Schéma de câblage du interrupteur d'éclairage : Un tutoriel complet
edrawsoft.com
L&G 12M Smart Switch Plate (12 Switches + 2 Switches (16A) + 1 Fan + 1 ...
leccygenesis.com
Buy Can-am Commander Maverick Two Switch Dash Panel Plate Rocker ...
ubuy.co.in
Palfrey Electric Extension Board - 16A/20A + 16A/20A with Two Switch a
palfrey.in
JELECTRICALS 6Amp Extension Board with Two Socket Two Switch, .1Sqmm ...
flipkart.com
Buy Can-am Commander Maverick Two Switch Dash Panel Plate Rocker ...
ubuy.co.in
Switchboard Designs for your Home | Modular Switchboards to Fancy DIY ...
magicbricks.com
Buy Palfrey Electric Extension Board - 16A/20A + 5A with Two Switch and ...
amazon.in
How Big Is the Nintendo Switch 2?
in.ign.com
Buy Can-am Commander Maverick Two Switch Dash Panel Plate Rocker ...
ubuy.co.in
Buy Enterprise Switching - Cisco Catalyst C1000-8P-2G-L network switch ...
metapoint.in
Smuf 16 Amp 2 Switch And 2 Socket With Indicator Combinor Box 16 A One ...
flipkart.com
Buy Can-am Commander Maverick Two Switch Dash Panel Plate Rocker ...
ubuy.co.in
Buy Enterprise Switching - Cisco Catalyst 1000 Series Switches - C1000 ...
metapoint.in
Buy DaierTek DPST KCD4 Rocker Switch 40A 12V DC 4 Pin 2 Position Switch ...
shoptheworld.in
Luigi's Mansion: Dark Moon Remaster Announced Along With Princess Peach ...
in.ign.com
Industrial switches - Cisco
cisco.com
Switches - LIVING NOW - Switches & Accessories
shop.legrand.co.in
Buy LANTRO JS Key Lock Rotary Switch 2 Positions, security Key Selector ...
desertcart.in
Buy Extension Switch Board Power Cord Electrical Switch Board 16 Ampere ...
amazon.in
Buy Enterprise Switching - Cisco Catalyst 1000 48-Port GbE PoE+ Switch ...
pacnetworks.in
Buy Can-am Commander Maverick Two Switch Dash Panel Plate Rocker ...
ubuy.co.in
Buy Can-am Commander Maverick Two Switch Dash Panel Plate Rocker ...
ubuy.co.in
Buy The Best Pre-Built & Custom Built Gaming PCs in India | SMC ...
smcinternational.in
Buy New Super Mario Bros. U Deluxe + Mario and Sonic at the Olympic ...
desertcart.in
Buy Can-am Commander Maverick Two Switch Dash Panel Plate Rocker ...
ubuy.co.in
Steelseriesapex 9 Tkl Mechanical Gaming Keyboard Optical Switches 2 ...
desertcart.in
Amazon.in: Buy Gateron G Black Pro 2.0 Pre-lubed Switches 3pin Linear ...
amazon.in
Palfrey Electric Extension Board With Cable- 16A/20A + 16A/20A With Two ...
amazon.in
Buy Tactile Push Button Switch 10PCS 2 Pin 6x6x5mm DIP Round Micro ...
desertcart.in
Buy SeCro Extension Board - 2 16A Socket with Two Switch and Heavy Duty ...
amazon.in
Buy Can-am Commander Maverick Two Switch Dash Panel Plate Rocker ...
ubuy.co.in
Buy Enterprise Networking - Cisco Catalyst 1000 Series Switches with 4x ...
metapoint.in
Buy OUTEMU (Gaote) Brown Switches, 3 Pin Keyboard Dustproof Switches ...
desertcart.in
Probots ProMax PS16 Push Button Switch with Indicator Light Buy Online ...
probots.co.in
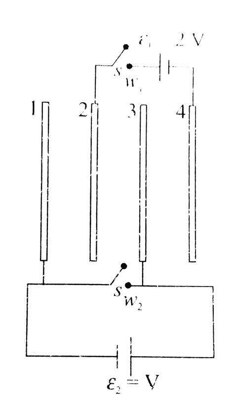
A capacitor `C` is connected to a battery circuit having two switches ...
allen.in
Demystifying Ethernet Switches: Key Concepts - Advantech
advantech.com
Heavy Duty UPVC 2 Socket,2 Switches with LED Lights (10 Meters ...
amazon.in
Buy SAIFPRO UPC Modular Extension Board (2 Switches, 2 Sockets) 2 in 1 ...
amazon.in
mxuteuk Heavy Duty Rocker Toggle Switch 3 Position 3PDT 9 Terminal ON ...
amazon.in
Palfrey Healthy Food Store
palfrey.in
Buy Digiway 240 Volts 8 + 2 Mini Power Strip Extension Cord || Board ...
amazon.in
Buy 2+2 Extension Switch Board Anchor 2 Socket(6A) & Anchor 2 Switches ...
amazon.in
KCEVE 4 Ports KVM Switch, 4 In 1 Out HDMI KVM Switcher Box Support 4K ...
amazon.in
Palfrey Electric Extension Board With Cable- 16A/20A + 16A/20A With Two ...
amazon.in
Kinivo 8K HDMI Switch with Remote 4 in 1 Out (4 Port, 8K 60Hz, 4K 120Hz ...
amazon.in
Buy Extension Board, Extension Cord, Electric Board, Power Board, Wall ...
desertcart.in
Nintendo Switch 2 Mania in Japan Prompts Parody Listings for Light ...
in.ign.com
SEER 6 Amp Surface Mount Electrical Box with 2 Sockets and 2 Switches ...
amazon.in
Rising High 2+2 Multiplug with 2 Two Switch and 2 Three Pin Socket 2 ...
flipkart.com
ANCHOR Penta 6 Modular Switch Board ( 4 switch, 1 Three pin socket ...
shopsy.in
A Comparison of 5-Pin Keyboard Switches and 3-Pin Switches – Credkeys
credkeys.com
Extension Board with 2 Sockets, 2 Switches, 7 Meter Long Power Cord ...
amazon.in
Buy 6 Gang Switch Panel Automatic Dimmable, Niwaker Universal ...
desertcart.in
kiot KNS2 Smart Switch Price in India - Buy kiot KNS2 Smart Switch ...
flipkart.com
Probots ProMax Toggle Switch 2 Position MTS-223 DPDT ON-ON 6Pin Buy ...
probots.co.in
Daiertek 12v Waterproof Round Rocker Switch Blue Led Lighted Ul ...
desertcart.in
Switches - LIVING NOW - Switches & Accessories
shop.legrand.co.in
UNO MINDA S21042 Power Window Switch Driver Side(2) Wagon R(New Model ...
partsbigboss.in
Two way and three way control of lamp and formation of truth table ...
studocu.com
Buy Chanzon SPDT Mini Micro Slide Switch SS12D00G 1p2t 2 Position 20pcs ...
desertcart.in
Palfrey Electric Extension Board - 16A/20A + 16A/20A with Two Switch ...
amazon.in
Buy SeCro Extension Board - 2 16A Socket with Two Switch and Heavy Duty ...
amazon.in
Universal Ignition Switch, Ignition Switch Starter with 2 Keys for 12V ...
amazon.in
Buy Enterprise Switching - Cisco Catalyst 1000 Series Switches - C1000 ...
metapoint.in
Buy Pump Flow Switch,Water Pump Switch,AC220V G3/4"-1/2" Pump Flow ...
desertcart.in
Figure shows four plates each of plate area A and separated between ...
allen.in
Goldmedal Nixon 1M 10A 2 Switches, 6A 2M Socket & 2M Full Rotary Fan ...
amazon.in
Buy Duttek RCA Switch Box, 2 Port AV Switch Box, AV Selector Switch 2 ...
desertcart.in
In the given diagram, two switches `S_1` and `S_2` and two bulbs X and ...
allen.in
Buy Enterprise Switching - Cisco SG550X-48 48-Port Gigabit Stackable ...
metapoint.in
DUROCK T1 Tactile Keyboard Switches, 5 Pins T1 Clear Tactile Switches ...
amazon.in
FG Rotary Limit Switch Manufacturer Exporter Supplier from Faridabad India
multitechsystems.co.in
Nintendo Splatoon 2 (Switch) : Amazon.in: Video Games
amazon.in
Buy UTRUGAN 2 Pcs Foot Switch Round In-Line Foot Switch Black Foot ...
desertcart.in
CADEAU Three Way Power Extension Cord with 16A Switch, Extension board ...
flipkart.com
VERTICAL FLOAT SWITCH LOW HIGH WITH ONE FLOAT TWO SWITCH WIRE 1.5 MTR ...
amazon.in
Gourang made an electric circuit with three bulbs `B_(1), B_(2)` and `B ...
allen.in
Buy Akko CS Lubed Switches for Mechanical Keyboard, 3 Pin 50gf Pre ...
desertcart.in
The 10 Must-Have R-99 Skins in Apex Legends 2024
gamingmoves.in
Electrical Socket | Switch Boards Online in India | Flipkart | 03-Feb-26
flipkart.com
Switch-Case Statement in C programming: - Smart Learning
thedigitalfk.in
Buy Heavy Duty PVC Extension Board (2 in 1 15A & 5A)(2 Sockets,2 ...
amazon.in
Sense Organ Universal Control 2 Switches I 1 Fan I TV, AC, Home theatre ...
amazon.in
DOTT Modular Remote Control Switches for 3 Lights & 1 Fan 5 Amp One Way ...
flipkart.com
Wooden Extension Board Electrical Switch Boards 2 Sockets and 2 ...
amazon.in
Cronos: The New Dawn Confirms Bloober Horror for Nintendo Switch 2 ...
in.ign.com
Amazon.in: Buy Ant Esports MK4000 RGB LED Backlit Aluminium Base Wired ...
amazon.in
APIELE 2PCS 22MM Momentary Push Button Switch with 1NO 1NC India | Ubuy
ubuy.co.in
It Takes Two Gameplay Switch [Gaming Trend], 40% OFF
kmit.in
Amazon.in: Goldmedal: Switches
amazon.in
SWITCHX 2 Switches & Universal Socket | Modular Smart Switch Panel ...
amazon.in
Buy Mahaveer Black Two Switch Board Pack of (3) Online at Low Prices in ...
amazon.in
Buy Enterprise Networking - Cisco Catalyst 1000 Series Switches - C1000 ...
metapoint.in
Buy MKK - Rocker switch toggle switch rocker switch 250 V 16 A built-in ...
desertcart.in
INDRICO® Polycarbonate Modular 2 Socket, 2 Switch 15/16 AMP 1.5mm 3 ...
amazon.in
Palfrey Electric Extension Board With Cable- 16A/20A + 16A/20A With Two ...
amazon.in
Goldmedal Nixon 1M 10A 2 Switches, 6A 2M Socket & 2M Full Rotary Fan ...
amazon.in
Palfrey Electric Extension Board With Cable- 16A/20A + 16A/20A With Two ...
amazon.in
Palfrey Electric Extension Board With Cable- 16A/20A + 16A/20A With Two ...
amazon.in
Buy 2 Pack Pressure Switch 120-150 PSI Air Compressor Pressure Switch 1 ...
desertcart.in
Eels CB_1427 8 SOCKET 2 SWITCHES EXTENSION CORD 8 Socket Extension ...
flipkart.com
Electronic Arts It Takes Two SWITCH | VideoGame : Amazon.in: Video Games
amazon.in
Buy FIOLTY 1800W Professional Hot and Cold Hair Dryers with 2 Switch ...
shoptheworld.in
Schneider Electric AvatarOn, 2 switches for curtain, 10 A, 250 V, White ...
amazon.in
Goldmedal Nixon 1M 10A 2 Switches, 6A 2M Socket & 2M Full Rotary Fan ...
amazon.in
2-Socket Extension Board with 2 Switches, Red and White, 2 Metre Power ...
amazon.in
Wipro Smart Switch Module, 2 Switch Control Compatible with Alexa ...
amazon.in
Buy Electric Switch Board Contain 2 sockets(6 Amp) and 2 switches (6 ...
amazon.in
Switching Modes in Computer Network - Switching Modes The layer 2 ...
studocu.com
Palfrey Electric Extension Board With Cable- 16A/20A + 16A/20A With Two ...
amazon.in
נינטנדו חושפת סוף סוף מי עומד מאחורי משחק ההשקה של Switch 2
il.ign.com
Related Searches
3-Way Switch 2 Lights
Leviton Decora 3-Way Switch Wiring
Jackbox Games Drawful
2 Light Switch Wiring Diagram
Nintendo Switch 2 Fan Made Designs
Drawful 2 Covor
Nintendo Switch Drawing
Drawful 2 Icon
Drawful 2 Game
Drawful 2 Prompts
Drawful 2 PC
3-Way Paddle Switch Wiring Diagram
Drawful 2 Steam
2 Gang Light Switch Diagram UK
Light Switch Diagranm 2 Gang
Good Drawings for Drawful
Drawful 2 Sheet Music
Owl From Drawful 2
Switch 2 Early Concept Art
Le Grand Paddle Switch Wiring Diagram No Neutral
Drawful Jack Box TV 2
Drawful
Jack Box Drawful 2
Drawful 2 Drawings
Light Switch Drawing
2 Switch Lights with 1 Dimmer Diagram
Nintendo Switch Draw
Drawful 2 Background
3-Way Switch Wiring with 3 Switch's
Games About Painter Switch
Switch Drew
Dimmer Switch Wiring Diagram UK
2-Way Dimmer Switch Wiring Diagram
Ligt Switch Drawing
Drawful 2
How to Wire a Double Light Switch UK
1 2 Switch Nintendo Switch Artwork
Drawful 2-Disc
ID Episode Drawful 2
Double Light Switch Wiring Diagram
Funny Characters to Draw in Drawful 2
Double Switch Light Circuit
Eu Dimmer Switch Wiring Diagram
Drawful 2 Wallpaper
The Jack Box Party Pack 2 Nintendo Switch
Wiring 2 Gang Switch
Leviton Three-Way Switch Diagram
2-Way Light Switch Feed to Switch
Light Switch Hardwrae
Two Way Switch
Search
×
Search
Loading...
No suggestions found