Find Your Style
Women
Men
Accessories
Search for clothing, brands, styles...
×
Women
Men
Accessories
E2i Icon
Search
Loading...
No suggestions found
Under 999 INR Filler Props – Madras Prop Store
madraspropstore.com
Under 999 INR Filler Props – Madras Prop Store
madraspropstore.com
INR Full Form: What is full form of INR?
bankersadda.com
10 MustHave Items Under INR 1999 That Will Transform You Into A Style Icon
mensxp.com
COWRKS Baner, 45 Icon at INR 799/day - Coworking Space for a Day Baner ...
myhq.in
Under 999 INR Filler Props – Madras Prop Store
madraspropstore.com
PepsiCo India announces an investment of INR 1266 cr to set up a ...
pepsicoindia.co.in
Understanding the Saudi Riyal Currency | INR to SAR
orientexchange.in
Under 999 INR Filler Props – Madras Prop Store
madraspropstore.com
Aviator App India – Download APK for Android & iOS in INR
aviator-games.org
33000 euro to inr - Claim a ₹300 Bonus Today! Android IOS V- 1.79
tax.lsgkerala.gov.in
259 Banquet Halls in Delhi Budget Below 1000 INR with Prices, Photos ...
venuepool.com
Bộ Tính Toán ELGNT sang INR | Chuyển Đổi Elizaagentic sang INR theo Tỷ ...
bingx.com
Ethnic Fashion Brand Libas Gains INR 150 Cr Maiden Funding from ICICI ...
shoplibas.com
Convert 1 INR to INR - Indian Rupee to Indian Rupee Currency Converter
cleartax.in
Indian Rupee (₹) - Buy INR Currency Online at Best Rates
makemytrip.com
BTC to INR Converter, Convert Bitcoin to INR Exchange 2022 - Exchanger24
exchanger24.org
GRASS Live Price Chart, GRASS to INR live price and Market cap
suncrypto.in
Chemco commissions INR 125-crore rPET recycling facility | WhatPackaging?
whatpackaging.co.in
KWD to INR conversionDownload it from KWD to INR conversion for free 7.99
durslt.du.ac.in
ValueQuest Enters PE Segment With INR 1,000 Cr Fund
businessoutreach.in
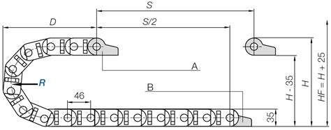
E2i.15 series | Openable along the inner radius
igus.in
VWA to INR: Convert Virtual World Asses (VWA) to Indian Rupee (INR ...
coinbase.com
Mileads | India’s Trusted Marketplace to Buy Verified Leads
mileads.in
E2i.17 series | Openable along the inner radius
igus.in
E2.15 series | Openable along the outer radius
igus.in
E2i.10 series | Openable along the outer radius
igus.in
Energy chain system E2.38: stable, quieter, easy to open | igus
igus.in
E2i.17 series | Openable along the inner radius
igus.in
e2i (Enterprise to Internet) – A Technology Continuum | itnext.in
itnext.in
E2I
envirozone.co.in
RUMBLE to INR: Convert Michael Buffer Official (RUMBLE) to Indian Rupee ...
coinbase.com
Energy chain system E2i.21 | Strong, easily openable | igus®
igus.in
Energy tube R2i.40 series
igus.in
What is GL Code: Meaning, Full Form, Structure, Uses, Example
cleartax.in
Energy chain system E2i.21 | Strong, easily openable | igus®
igus.in
Energy chain series E2i.48 | Strong, easily openable | igus®
igus.in
Energy chain system E2i.21 | Strong, easily openable | igus®
igus.in
What is ROI? A Complete Guide to Calculating ROI and Setting Realistic ...
hoora.in
E2.10 series | Openable along the outer radius
igus.in
ITGR to INR: Convert Integral (ITGR) to Indian Rupee (INR) | Coinbase ...
coinbase.com
Energy chain system E2i.21 | Strong, easily openable | igus®
igus.in
ICON SELECT BY BHAGINI (Bengaluru) - Hotel Reviews, Photos, Rate ...
tripadvisor.in
E2i Concepts Sdn Bhd: Stands, Opiniones de clientes y Servicios
nstand.com
AINDRA1 | Home
aindra.in
Uses and SideEffects of Warfarin: What You Need to Know
medicoverhospitals.in
Energy chain system E2.1 | igus India
igus.in
Energy chain series E2i.26 | igus®
igus.in
World Currency to Indian Rupee Exchange Rates,Foreign Currency Value in ...
goodreturns.in
USD/INR Cracks Big: Falls 2% in 4 Days! | Investing.com India
in.investing.com
Rafa Red with Black – Kovaipattu
kovaipattu.com
Energy chain series E2i.38 | Strong, easily openable | igus®
igus.in
11,00,00,000 US dollars to Indian rupees Exchange Rate. Convert USD/INR ...
wise.com
BNB to INR: Convert BNB (BNB) to Indian Rupee (INR) | Coinbase India ...
coinbase.com
Warfarin: View Uses, Side Effects and Medicines
truemeds.in
3d style indian currency rupee sign on white background design | Free ...
freepik.com
TOMAN to INR: Convert IRR (TOMAN) to Indian Rupee (INR) | Coinbase ...
coinbase.com
Levi’s Women's Icon Skirt – Levis India Store
levi.in
Levi’s Women's Icon Skirt – Levis India Store
levi.in
Levi’s Women's Icon Skirt – Levis India Store
levi.in
Festival – Madras Prop Store
madraspropstore.com
R.E.P.O.
in.ign.com
BTCUSD to INR: Convert Bitcoin USD (BTCFi) (BTCUSD) to Indian Rupee ...
coinbase.com
E2I
envirozone.co.in
E2I
envirozone.co.in
Buy and Sell Tether (USDT) with Your Preferred Payment Methods ...
p2p.binance.com
Energy chain system E2.1 | igus India
igus.in
BAT to INR: Convert Basic Attention Token (BAT) to Indian Rupee (INR ...
coinbase.com
Total Environment Over the Rainbow | Over the Rainbow Total Environment ...
totalenvironment.gen.in
XMR to INR: Convert Monero (XMR) to Indian Rupee (INR) | Coinbase India ...
coinbase.com
TON to INR: Convert Toncoin (TON) to Indian Rupee (INR) | Coinbase ...
coinbase.com
GharWala Spices
gharwalaspices.com
Indian Rupee Symbol (₹): Facts about the official Currency of India
indiatimes.com
Energy chain system E2.26 | Strong, easily openable | igus®
igus.in
Bojler METALAC Aurora EZV 50 E2i SG Inox 340149
kerametal.rs
KIN to INR: Convert Kin (KIN) to Indian Rupee (INR) | Coinbase India ...
coinbase.com
Publishing power BI broken when OneDrive refresh i... - Microsoft ...
community.fabric.microsoft.com
Warfarin: Uses, Side Effects, Interactions & Dosage
medicoverhospitals.in
USD/INR declines as outflow of foreign funds from Indian equity markets ...
tmgm.com
Metalac Bojler Hydra MB 50l E2i Inox 145538 - Alvos Beograd
alvos.rs
Contact – valientecaps
valientecaps.com
Indian Couture Celebrity Looks | Iconic Designer Outfits by Gaurav ...
gauravguptastudio.com
Signage - Premium Solutions | Custom Neon & LED Signs
acrylicsignboards.in
Registration Form
cam.mycii.in
Doll House Drawer – Madras Prop Store
madraspropstore.com
Login
mytask.moovon.in
Warfarin: Uses, Side Effects, Dosage and Precautions
medicoverhospitals.in
Warfarin: Uses, Side Effects, Dosage and Precautions
medicoverhospitals.in
SALE – Page 7 – Studio Medium
studiomedium.in
E2I
envirozone.co.in
Gold Necklace Set for Women | Buy Gold Necklace Set Online India ...
manubhai.in
Ferrari Outfit – Madras Prop Store
madraspropstore.com
Metalac Bojler Hydra MB 80l E2i Inox 145522 - Alvos Beograd
alvos.rs
Buy Paladone ICONS - Minecraft Creeper Night Light Lamp 3D Character ...
ubuy.co.in
SALE – Page 7 – Studio Medium
studiomedium.in
CBSE Class 12 Psychology Previous Year Questions 2025 | Download PDF
educart.co
Gold Necklace Set for Women | Buy Gold Necklace Set Online India ...
manubhai.in
**Page Title:** "Top 10 Saree Trends Every Woman Must Know in 2024 ...
sanjarcreation.com
Pumpkin Bunting – Madras Prop Store
madraspropstore.com
E2i Concepts Sdn Bhd: Stands, Opiniones de clientes y Servicios
nstand.com
Metalac Bojler 50l Hydra EZV 50 E2i - Alvos Beograd
alvos.rs
What is R and D
investindia.gov.in
Tracking | Bright Parcel
brightparcel.com
BankU Seva Kendra - Bharosha Bharat Ka (बैंकयू सेवा ...
banku.co.in
Buy Gold Pendant Set with Earrings Online India | Latest Gold Pendant ...
manubhai.in
Warfarin sodium in India - Chemicalbook.in
chemicalbook.in
Embracing Your Pear Shaped Body: Style Tips from Bollywood Actresses
amydus.com
Budget Newborn Wrap ( Aqua Blue ) – Madras Prop Store
madraspropstore.com
Light Weight & Daily Wear Gold Necklace Set Designs (2025) | Buy Gold ...
manubhai.in
Budget Newborn Wrap (Coral Red) – Madras Prop Store
madraspropstore.com
Wehomerz - Advance Rental Portal
wehomerz.com
Budget Newborn Wrap (Khaki) – Madras Prop Store
madraspropstore.com
e2i (Enterprise to Internet) – A Technology Continuum | itnext.in
itnext.in
Bojler Metalac Aurora MB 80 E2i SG (181108 / 8600034904835), 80 l, 2000 ...
kondoras.rs
Budget Newborn Wrap ( Sapphire ) – Madras Prop Store
madraspropstore.com
Budget Newborn Wrap (Violet) – Madras Prop Store
madraspropstore.com
8 Obat Stroke yang Efektif dan Tersedia di Apotik - Alodokter
alodokter.com
Aiwo Breath Easy – Aiwo Limited
aiwo.com
Doll House Drawer – Madras Prop Store
madraspropstore.com
USD/INR surges amid consistent FIIs selling in Indian equity market
tmgm.com
Related Searches
INR Icon.png
INR Text Icon
INR Money Icon
INR Icon.svg
Cash INR Icon
PO Spend INR Icon
Total Icon INR
INR Coin Icon
Digital Icon INR
INR Icon Black
INR Logo
Amount INR Icon
Rand Icon
Icon for INR in PNG
INR Sign Icon
INR Icon Black Rectangle
Pricing INR Icon
Charges Icon INR
Subscriber Paying INR Icon
Rupee Icon
INR Clip Art
Money IDR Icon
Add Money INR Icon.png
INR Currency Icon
INR Icon Symbol PNG
Finance Sheet with INR Icon
IDR Red Icon
INR Vector
Uxwing Icons
INR Cartoon
Transaction Icon with Rupee
Money INR Excel Icon
INR Sticker
Gross Amount INR Icon.png
Red Web Icon
Profitability INR Icon
Reducing Charges INR Icon
INR Payment Logo
Price Icon Transparent
IRR Currency Icon
Icon IDR Lucu
Supratherapeutic INR
Negative Hit On INR Profit Icon
Net Amount INR Icon.png
OMR Icon
CHF Icon
INR Rupe Symbol
Inrstar Icon
Demonetized Icon
INR Savings Icon.png
Search
×
Search
Loading...
No suggestions found