Find Your Style
Women
Men
Accessories
Search for clothing, brands, styles...
×
Women
Men
Accessories
Narcotics Task Force
Search
Loading...
No suggestions found
ANTF | MAHACID
mahacid.gov.in
Punjab Police's Anti-Narcotics Task Force gets Support Services Unit
aninews.in
राजस्थान में जानिए क्यों हुआ एंटी नारकोटिक्स टास्क फोर्स का गठन, कैसे ...
ndtv.in
Punjab anti-drug task force gets more teeth, new name | Hindustan Times
hindustantimes.com
Anti-Narcotics Task Force meet begins tomorrow to discuss extradition ...
aninews.in
Maharashtra to get anti-narcotics task force to combat drug menace ...
indiatoday.in
Uttarakhand : DGP to conduct monthly review of Anti-Narcotics Task ...
aninews.in
Andhra’s anti-narcotics task force a work in progress. How CM Naidu ...
msn.com
Maharashtra Forms Anti-Narcotics Task Force To Crack Down On Inter ...
msn.com
Intensify drive to achieve PM's vision of drug-free India: Shah
msn.com
Amit Shah to inaugurate Anti-Narcotics Task Forces (ANTF) conference on ...
msn.com
Punjab News: BSF And Anti-Narcotics Task Force In Punjab Apprehend ...
rozanaspokesman.com
Amit Shah to inaugurate 1st National Conference of Anti Narcotics Task ...
aninews.in
UP to set up task force to check trade of narcotics
freepressjournal.in
Archived: BEST | ICE
ice.gov
Karnataka govt forms anti-narcotic task force to tackle drug menace in ...
english.varthabharati.in
Remember Shiney Ahuja? The Gangster actor is away from the limelight
mid-day.com
Arunachal celebrates Republic Day in Itanagar, CM announces formation ...
indiatodayne.in
Amit Shah directs states to form dedicated Anti Narcotics Task Force
aninews.in
Drug Inspector: Anti-narcotics Task Force Arrests Drug Inspector In ...
timesofindia.indiatimes.com
Fillable Online Regional Drug Task Force Agreement - kitsap county ...
pdffiller.com
Meghalaya CM launches Anti-Narcotics Task Force Police Station in ...
indiatodayne.in
MoS Yogesh Kadam Orders Swift Action Against Drug Trade Across Maharashtra
freepressjournal.in
UP govt sets up Anti-Narcotics Task Force; to depute 450 police ...
aninews.in
MANAS - Digital India | Leading the transformation in India for ease of ...
digitalindia.gov.in
Amit Shah instructs for NCB-CBI joint mechanism to extradite fugitives ...
aninews.in
Delhi Police narcotics wing cracks down on sale of synthetic drugs ...
indiatoday.in
Setting up of Anti-Narcotics Task Force in J& Creation of 100 Post
crosstownnews.in
Local narcotics task force arrests man following eight-month investigation
13abc.com
SSBS Organised Anti-Narcotics Awareness Program
agra.sharda.ac.in
Fillable Online SAUK COUNTY DRUG TASK FORCE - reedsburgwigov Fax Email ...
pdffiller.com
Meghalaya CM Conrad Sangma inaugurates anti-narcotics task force police ...
aninews.in
Manipur government reconstitutes Anti-Narcotics Task Force to tackle ...
indiatodayne.in
Narcotic Drugs and Psychotropic Substances (NDPS) : General Introduction
buddingforensicexpert.in
J&K: Anti-Narcotics Task Force conducts raids in Punjab, arrests wanted ...
indiatoday.in
Meghalaya: Anti Narcotics Task Force arrests two drug peddlers with 7 ...
indiatodayne.in
Himachal: Anti-Narcotics Task Force seizes 9.9 kg of cannabis in Mandi ...
aninews.in
Anatomy of a Federal Drug Agent: The true story of the 1980s St. Louis ...
amazon.in
AP renames anti-narcotics task force as ‘EAGLE’ to combat cultivation ...
newsmeter.in
Narcotics Worth Rs 1 Cr Recovered in Meghalaya - narcotics worth rs 1 ...
indiatodayne.in
Nagaland battles 1.2 lakh drug users as north-east states unite against ...
indiatodayne.in
Former narcotics officer pleads guilty to embezzling drug money
wbrc.com
Control Room
uppolice.gov.in
Control Room
uppolice.gov.in
Washington
wjhg.com
दिल्ली में 5600 करोड़ की कोकीन की खेप अकेली नहीं, शहर में हैं ड्रग्स ...
aajtak.in
UP Sets Up Task Force To Check Illegal Drug Trade THE NEW INDIAN - up ...
newindian.in
Fillable Online Columbus Police Department Metro Drug Task Force Fax ...
pdffiller.com
Drug Task Force Agents pull suspected dealer off the streets
kait8.com
Manipur War On Drugs-2.0: Why Task Force To End Illicit Poppy ...
indiatimes.com
India Launches First National Toll-Free Anti-Narcotics Helpline
currentaffairs.adda247.com
181% RISE IN DRUG CASES -UPSC Current Affairs - IAS GYAN
iasgyan.in
J-K: Anti-Narcotics force recovers huge quantity of poppy straw in Budgam
aninews.in
Meghalaya: ANTF makes major drug seizure, arrests five peddlers in East ...
indiatodayne.in
Dutchess County Sheriff's Office: Drug Task Force Apprehends 3 Drug ...
content.govdelivery.com
Dutchess County Sheriff's Office: Drug Task Force - Main Street ...
content.govdelivery.com
Drug Task Force - Community Complaints Lead to Fentanyl Dealer and ...
content.govdelivery.com
Irwin County News
walb.com
Himachal constitutes anti-drug task-force
aninews.in
Special Task Force cracks down on Manipur-Assam drug traffickers, 4 ...
indiatodayne.in
Massive narcotics haul in Mohali, 2 arrested with drug money
msn.com
3 करोड़ 20 लाख रुपये की अफीम बरामद, शाहजहांपुर में एंटी नारकोटिक्स ...
aajtak.in
Around 1,000 kg poppy-straw recovered along Sonamarg-Leh thoroughfare
aninews.in
Press Release:Press Information Bureau
pib.gov.in
Dutchess County Sheriff's Office: Drug Task Force Apprehends 3 Drug ...
content.govdelivery.com
AAP's youth manifesto: Special drug task force to destroy drug cartels ...
indiatoday.in
CM Mann commits to make Punjab drug-free in three months
awazthevoice.in
Tripura security forces arrest trio, seize narcotics worth Rs 13 lakh ...
indiatodayne.in
Page County
whsv.com
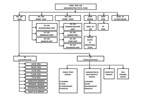
PRESENT OFFICERS IN CID
mahacid.gov.in
Manipur - Manipur: Security forces arrest five in two major anti ...
indiatodayne.in
Secunderabad Drug Peddling Arrest: Three Peddlers Apprehended ...
hyderabadmail.com
MANAS - Digital India | Leading the transformation in India for ease of ...
digitalindia.gov.in
How Ex-Commando Who Fought 26/11 Terrorists Turned Into Drug Kingpin
msn.com
Home | Ministry of Home Affairs
mha.gov.in
Dutchess County Sheriff's Office: Drug Task Force Apprehends 3 Drug ...
content.govdelivery.com
The "International Day Against Drug Abuse and Illicit Trafficking" was ...
nfsu.ac.in
Trump declares war in Caribbean? US strike destroys Venezuelan 'drug ...
msn.com
Archived: Kansas City 'BEST' task force | ICE
ice.gov
SSC CGL 2022 Exam for Central Bureau of Narcotics (CBN) Recruitment ...
jagranjosh.com
Irwin County News
walb.com
Delhi Police Special Cell arrests head constable for stealing Rs 51 ...
msn.com
Technical Guidelines for Effective Anti-Trafficking Task Forces | IOM ...
indonesia.iom.int
Amit Shah Virtually Watches The Destruction Of Drugs Worth More Than Rs ...
timesnownews.com
Important Links
mahacid.gov.in
Keokuk man arrested on meth charges
kwqc.com
Drug Task Force - Community Complaints Lead to Fentanyl Dealer and ...
content.govdelivery.com
Press Release:Press Information Bureau
pib.gov.in
How Rajasthan is target of increasing spying, narcotics smuggling by ...
indiatoday.in
Himachal Pradesh Government
himachalpr.gov.in
Crime
wtap.com
Narcotics Control Bureau
narcoticsindia.nic.in
Mumbai: Customs Destroys 14,000 Kg Drugs Worth Crores Through Incineration
freepressjournal.in
India@100: HM Amit Shah eyes drug-free India by 2047 THE NEW INDIAN ...
newindian.in
UP Police RAG Bot
rag.agrapolice.in
Explained: Narcotics Control Bureau (NCB) - Functions, Powers & Other Facts
jagranjosh.com
ANTF | MAHACID
mahacid.gov.in
Flight attendant accused of smuggling $14.5M of drugs into Australia as ...
foxnews.com
Pages | Criminal Investigation Department Maharashtra State
mahacid.gov.in
Arunachal: Tawang Police holds district-level meeting to strengthen ...
indiatodayne.in
Constable (GD) in Central Armed Police Forces (CAPFs), SSF, Rifleman ...
pcsconline.in
Task Force Patriot personal security detail conducts mission | Article ...
army.mil
Instagram star policewoman arrested with narcotic drugs; accused of ...
keralakaumudi.com
‘COVID vaccines caused 74% deaths’: Dr. Peter McCullough shocks Senate ...
economictimes.indiatimes.com
Constable (GD) in Central Armed Police Forces (CAPFs), SSF, Rifleman ...
pcsconline.in
Narcotics Control Bureau
narcoticsindia.nic.in
ANTF | MAHACID
mahacid.gov.in
Referencer | Customs Central Excise Service Tax | DG_Directorate of ...
referencer.in
Mumbai News: 437 Kg Drugs Worth Over ₹73 Crore Destroyed By Maha ATS At ...
freepressjournal.in
Functions of the Financial Action Task Force (FATF) - Enterslice
enterslice.com
First Multi-Domain Task Force plans to be centerpiece of Army ...
army.mil
MANAS - Digital India | Leading the transformation in India for ease of ...
digitalindia.gov.in
SC Appoints Dr. Reddy to Task Force on Doctor Safety
hyderabadmail.com
2 arrested, drugs seized in Watertown raid
wwnytv.com
Archived: Latest 'BEST' task force established in West Texas | ICE
ice.gov
Piggly Wiggly + Hunger Task Force $5 Day at the Wisconsin State Fair ...
allevents.in
First Multi-Domain Task Force plans to be centerpiece of Army ...
army.mil
FSSAI Task Force found violations at several stores in Hyderabad ...
hyderabadmail.com
Call of Duty: Modern Warfare 2 Trailer: Task Force 141 Returns ...
in.ign.com
Who is Sunil Kanugolu? Know all about poll strategist included in ...
freepressjournal.in
Related Searches
Narcotics Task Force Logo
Northwest Narcotics Task Force
Gang Narcotics Task Force
Narcotics Task Force Wallpaper
Okeechobee Narcotics Task Force
Bayshore Narcotics Task Force
Narcotics Task Force Alabama
Pennyrile Narcotics Task Force
Narcotics Task Force CT
Narcotics Task Force Badge
CounterDrug Task Force
Connecticut State Wide Narcotics Task Force
Yuma County Narcotics Task Force
CT Statewide Narcotics Task Force
Drug Task Force
Anti Narcotics Task Force
Task Force Six
Joint Task Force
Jail Narcotics Task Force
Narcotics Task Force Uniform
Mnet Narcotics Task Force
Tallapoosa County Narcotics Task Force
Metro Area Narcotics Task Force Bismarck
Police Task Force
MSP Narcotics Task Force
Multi Area Narcotics Task Force
Task Force Team
Stutsman County Narcotics Task Force
Gang Narcotics Task Force Truck
Sast Narccotis Task Force Logo
Dea Task Force Officer
Alameda County Narcotics Task Force
Central Wisconsin Narcotics Task Force
Criminal Task Force
Drug Enforcement Task Force
Special Task Force Central Narcotics Bureau
Narcotics Task Force Shirts for Sale
Narcotics Task Force Patch
FBI Task Force
Task Force Patches
Imperial County Narcotic Task Force
Narcotics Task Force Logo Clip Art
Gang Narcotics Task Force Skull
Blue Ridge Narcotics Task Force
Anti Narcotics Task Force PNG Image
Merced-Mariposa Narcotics Task Force
National Guard CounterDrug Task Force
Clarendon County Narcotics Task Force
Dare County Narcotics Task Force
Grant Deyective Traverse City Narcotics Task Force
Search
×
Search
Loading...
No suggestions found