Find Your Style
Women
Men
Accessories
Search for clothing, brands, styles...
×
Women
Men
Accessories
Psm Control
Search
Loading...
No suggestions found
ANAROCK Launches Project Management & Engineering Services, Targets INR ...
aninews.in
Philips Remote Inr Order Form - Fill Online, Printable, Fillable, Blank ...
pdffiller.com
Aviation Industry: Celebi Delhi Cargo Terminal Management plans INR 150 ...
travel.economictimes.indiatimes.com
Karthik Sarma — INR 26,700 Cr (SRS Investment Management) - Hurun India ...
economictimes.indiatimes.com
Nobel Hygiene Raises INR 170 Cr from Neo Asset Management | Hyderabad ...
hitex.co.in
PSM INDIA 1 HP Control Digital Panel For Single Phase Submersible Motor ...
amazon.in
Process Safety Management(PSM) Implementation
dekra.in
3selearning
3selearning.in
Process Safety Management Quality in Industrial Corporation for ...
mdpi.com
Process Safety Management Quality in Industrial Corporation for ...
mdpi.com
Traffic Management Services Dubai – Smart Control | PSM
psm-uae.com
Traffic Management Services Dubai – Smart Control | PSM
psm-uae.com
Sigma HSE | Process Safety Consulting & Testing Services
sigma-hse.co.in
Sigma HSE | Process Safety Consulting & Testing Services
sigma-hse.co.in
PSM UAE - Personal Security Management
psm-uae.com
HSE AZ Learning Center
hseazlearningcenter.com
RUGVEDA ENGINEERING CONSULTANTS
rugvedaengg.in
PETROENGINEERING CONSULTANT
petroengineering.in
Sigma HSE | Process Safety Consulting & Testing Services
sigma-hse.co.in
Manufacturing :PSM SoftTech Pvt. Ltd.
psmsofttech.com
Buy Chemical Process Safety: Fundamentals with Applications ...
amazon.in
Manufacturing :PSM SoftTech Pvt. Ltd.
psmsofttech.com
Access Control System Dubai – 24/7 Smart Security | PSM
psm-uae.com
Psm paper analysis - Psm imp list - Psm paper analysis Types of ...
studocu.com
Wiley Guidelines For Auditing Process Safety Management Systems ...
desertcart.in
Access Control System Dubai – 24/7 Smart Security | PSM
psm-uae.com
Access Control System Dubai – 24/7 Smart Security | PSM
psm-uae.com
Order Management in Supply Chain - Improve Supply Chain Efficiency
enterslice.com
PEARL Sustainability Solutions Pvt Ltd
pearlsolutions.in
Indfos PSM-550-B4-11 Automatic Control Valves Price in India - Buy ...
flipkart.com
Manufacturing :PSM SoftTech Pvt. Ltd.
psmsofttech.com
Process Safety Management (PSM) Implementation | 24 September 2025 ...
gidm.gujarat.gov.in
PSM Training & Implementation | Process Safety Management Training
dnv.in
PETROENGINEERING CONSULTANT
petroengineering.in
Process Safety Management (PSM) Consultant in India
prismcon.in
Access Control System Dubai – 24/7 Smart Security | PSM
psm-uae.com
JIN SEWING MACHINE POWER SAVING MOTOR WITH CONTROL BOX (550W) BLUE BEST ...
flipkart.com
Process Safety Management (PSM) Implementation | 24 September 2025 ...
gidm.gujarat.gov.in
Process Safety Management (PSM) Implementation | 24 September 2025 ...
gidm.gujarat.gov.in
TQM - Total Quality Management - Definition, Principles and Importance
cleartax.in
Process Safety Management - Safety Management System | Sigma-HSE
sigma-hse.co.in
Construction of Safety-Management Platform for Chemical Enterprises ...
mdpi.com
JIN SEWING MACHINE POWER SAVING MOTOR WITH CONTROL BOX (550W) BLUE BEST ...
flipkart.com
Buy OSHA's Process Safety Management Standard: A Proven Written Program ...
amazon.in
Hurun India 2025: 10 billionaire Indians who entered the rich list this ...
economictimes.indiatimes.com
Guidelines for Integrating Process Safety Management, Environment ...
flipkart.com
N.L. Dalmia Institute of Management Studies Placements 2022 | Average ...
mbarendezvous.com
Partial Thromboplastin Time Wikipedia, 58% OFF
elevate.in
Introduction to Process Safety management, KPR Institute Engineering ...
kpriet.edu.in
ITTO of Project Integration Management - How to remember it?
itechgurus.org
Buy Process Safety Management Book Online at Low Prices in India ...
amazon.in
Process safety management: the importance of getting it right | British ...
britsafe.in
Discuss Software Configuration Management in detail. | Winter-2018
gtu-paper-solution.com
Admission to PG Diploma In Process Safety Management, Department of ...
apps.unishivaji.ac.in
Sigma HSE | Process Safety Consulting & Testing Services
sigma-hse.co.in
Buy Process Safety Management A Complete Guide - 2020 Edition Book ...
amazon.in
Iso Certification - ISO 45001:2018 Safety Management System Audit ...
ameenehshub.in
Safety Analytics and Virtual Reality Laboratory
iem.iitkgp.ac.in
Food Safety Management Consultancy Services in New Delhi,Food Safety ...
foodsure.in
News
rozanaspokesman.com
Introduction to Process Safety management, KPR Institute Engineering ...
kpriet.ac.in
Buy Process safety management Complete Self-Assessment Guide Book ...
amazon.in
Pressure Switch Madas PSM-50 / PSM-150 / PSM-500 | Gas Pressure Switch ...
amazon.in
Paper-based Format: Stock Register | Knowledge Base
ntep.in
Implementation of Food Safety Management | Encyclopedia MDPI
encyclopedia.pub
Perpetual Solutions | Expert Process Safety, Sustainability, and Energy ...
skillcentre.perpetualsolutions.co.in
Risk and Process Safety Consultancy Services by VECS, Mumbai, India
vecs.in
PETROENGINEERING CONSULTANT
petroengineering.in
ravi ramasamy
ceo-vietnam.com
Priorities in Risk Management for Patient Safety
dnv.in
Buy Guidelines for Auditing Process Safety Management Systems Book ...
amazon.in
INSTITUTE OF QUALITY TECHNICAL SAFETY MANAGEMENT
adrock.in
Less Lean Enterprise System Solutions
leanindia.co.in
Buy OSHA and EPA Process Safety Management Requirements: A Practical ...
amazon.in
Buy Managing and safety in construction: Construction (Design and ...
desertcart.in
Buy Safety First Aid Group Stress Management Poster - Laminated (59 x ...
desertcart.in
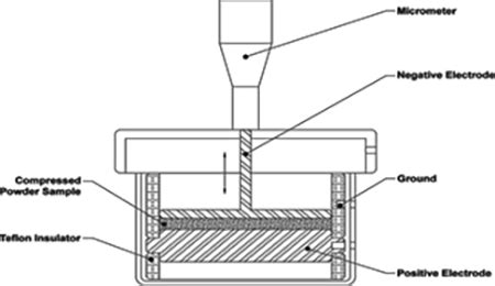
Powder Resistivity Test
kelvn.in
Buy ISO 45001 - Essentials of Occupational & Safety Management System ...
desertcart.in
Importance of construction safety Management
noahinfra.in
Process Safety Management Guidelines for Compliance: Buy Process Safety ...
flipkart.com
Buy The Design, Implementation, and Audit of Occupational and Safety ...
desertcart.in
JIN SEWING MACHINE POWER SAVING MOTOR WITH CONTROL BOX (550W) BLUE BEST ...
flipkart.com
ANU LMS: All courses
lms.anuonline.ac.in
BPM(Business Process Management)
larksuite.com
eLearning
processsafetycourse.com
Management Review Meeting - 2022 - Management Review Meeting Purpose ...
studocu.com
Sprint6 Smart Restroom Solutions Featured on Startup Singam – Season 2
businessminutes.in
EHS Legal Compliance
dnv.in
Clinical Data Safety Management | CRAMbridge
crambridge.in
Free Performance Assessment Flowchart Templates
edrawsoft.com
Essential Commands For Process Management in Kali Linux - Tech Hyme
techhyme.com
Petromech Institute - Vadodara offers Process Desi... | Petromech ...
petromechengg.in
Buy Safety Management Book Online at Low Prices in India | Safety ...
amazon.in
process safety management
prismcon.in
OSHA and EPA Process Safety Management Requirement: Buy OSHA and EPA ...
flipkart.com
- Nagpur
nifse.in
Buy ISO 45001:2018 Occupational and Safety Management Systems - OH&SMS ...
desertcart.in
7: Talent Management Process | Employee Performance | Seven Consultancy
7consultancy.in
Buy Safety Management Book Online at Low Prices in India | Safety ...
amazon.in
National Safety Day 2023 Observed on 04th March
currentaffairs.adda247.com
University of the South Pacific Courses & Fees 2025: Popular Programs ...
shiksha.com
Buy MASTERING The Fundamentals of ISO 45001: A Comprehensive Guide to ...
desertcart.in
Fantastic Food Hygiene Poster | Twinkl | Display Poster
twinkl.co.in
Demand management planning process in supply chain management
projectguru.in
Buy Safety Magnets Anger Management for Kids (20 Pack) - Laminated, 17 ...
desertcart.in
The Indo Pacific Research Awards (IPRA)
indopacificresearchawards.com
Final Report into 2019 PES Fire and Explosion in Philadelphia
firestudy.in
Office of Alumni & Corporate Relations
acr.iitm.ac.in
Buy Safety Management Book Online at Low Prices in India | Safety ...
amazon.in
World Nursing, Healthcare Management and Patient Safety Conference ...
ntradeshows.com
S Deenadayalan
ceo-vietnam.com
Jsrdigital
jsrdigital.in
KNOWLEDGE CENTER FOR INDUSTRIAL SAFETY HOSTED BY WAGON REPAIR SHOP ...
kcis.secr.in
faculty
cisat.co.in
Buy Food Safety Culture: Creating a Behavior-Based Food Safety ...
desertcart.in
Risk Assessment Services | HIRA & Quantitative Risk Assessment (QRA)
jogisafetech.com
PEARL Sustainability Solutions Pvt Ltd - About Us
pearlsolutions.in
SPS2013|Speakers
safety.iitgn.ac.in
SEMESTER EXAM PAPER_IIT KGP | Mine Portal - India's No.1 Mining Exams ...
mineportal.in
Top Oil and Gas Instrumentation Interview Questions and Answers
plcblog.in
Related Searches
Low INR
PT/INR Test
INR Patient
INR Control Solution
INR Formula
INR Testing Machines for Home
INR 2
INR Hematologia
INR Flow Control
Low INR Meaning
INR Control Solution Atlas
INR Calculator
INR Therapeutic Range
PT/INR Normal Values
PT/INR Controls
CoaguChek Controls
Medidor INR
What Is the Ailments Are INR Control
Manual INR Calculation
INR Goal Chart
INR Treatment Chart
INR Monitor
INR Curve
Low INR On Warfarin
Subtherapeutic INR Management
Low INR Causes
INR Supplies
INR Too Low
Calibration Tests for INR CoaguChek Control
Coagulation INR Test
Low INR Indicates
INR Blood Test Normal Range
INR Que ES
Sintrom INR
INR Coagulacion
INR Goal for Surgery
Normal INR Levels
INR Values
INR aPTT
INR Goals
Normal Range for INR
Warfarin PTT
INR Diagram
INR Home Testing Machine
Blood INR Chart
Home INR Monitoring
PT/INR Training
PT/INR Vial
PT vs PTT Intrinsic Extrinsic
Protime INR Test Results
Search
×
Search
Loading...
No suggestions found